Rulouri exterioare aplicate

OUTBOX

Rulourile exterioare pentru ferestre MCA OUTBOX reprezintă soluția ideală pentru instalarea sistemelor de umbrire pe tâmplăria existentă. Designul celor două variante de casete se armonizează perfect cu restul detaliilor fațadei pe care sunt montate.

Beneficii

  • Răcoare “naturală”, împiedică încălzirea excesivă a locuinței în zilele toride de vară
  • Umbră: flexibilitate in dozarea luminii naturale; permite un somn odihnitor pe timpul zilei
  • Siguranță și protecție împotriva oaspeților nepoftiți. Sistemele electrice pot fi programate să se redice și coboare la un anumit interval de timp, pentru a simula prezența în casă.
  • Intimitate: protejează de privirile indiscrete, mai ales când ferestrele sunt orientate către stradă sau spre o locuință vecină
  • Izolare fonică superioară
  • Protejează tâmplăria de ploaie, vânt viscol sau grindină
  • Previne decolorarea și degradarea mobilierului și a decorațiunilor interioare
  • Se pot acționa manual sau prin intermediul unei telecomenzi
  • Se pot realiza într-o varietate coloristică largă pentru armonizarea cu fațada imobilului
  • Permit integrarea unei plase contra insectelor
  • Previne pierderile de căldură pe timpul iernii
  • Consum de energie termică cu 10% mai mică pe timpul iernii

Prezentare funcționare

  • Rulou pentru ferestră aplicat - OUTBOX cu plasă de insecte integrată, casetă maro 45 °, acționare prin panglică

  • Rulou pentru ferestră aplicat - OUTBOX cu plasă de insecte integrată, dublu, casetă maro 45 °, acționare prin manivelă și panglică

  • Rulou pentru ferestră aplicat - OUTBOX cu plasă de insecte integrată, cu casetă maro 45 ° actionare electrică prin telecomandă

  • Rulou pentru ferestră aplicat - OUTBOX cu plasă de insecte integrată, cu casetă semirotundă, acționare prin șnur

  • Rulou pentru ferestră aplicat - OUTBOX cu plasă de insecte integrată, dublu, cu casetă semirotundă, actionare electrică prin telecomandă și intrerupător

  • Rulou pentru ferestră aplicat - OUTBOX, cu casetă semirotundă cu arc și yală

Acționări și accesorii

  • Acţionare cu panglică

  • Acţionare electrică cu buton

  • Acţionare cu telecomandă

  • Acţionare cu telecomandă

  • Acţionare electrică cu buton

  • Acţionare cu buton

Culori lamele 37mm

Alb
900 - RAL 9016

Bej
919 - RAL 1015

Light Wood
915

Golden
920

Argintiu
916 - RAL 9006

Gri
901 - RAL 7038

Dark Wood 1
907

Dark Wood 2 (nuc)
910

Maro închis „Dark Brown”
921

Nuc
925

Stejar auriu
924

Maro roşcat
912 - RAL 8017

Maro
903 - RAL 8014

Mahon
926

Wenge
928

Bordeaux metalizat Rafaello
914 - RAL 8016

Verde
906 - RAL 6005

Albastru
904 - RAL 5010

Gri antracit
957 - RAL 916

Culori lamele 55mm

Alb
900 - RAL 9016

Argintiu
916 - RAL 9006

Bej
919 - RAL 1015

Gri
901 - RAL 7038

Maro închis
“Dark Brown” 921

Maro
903 - RAL 8014

Dark Wood 1
907

Stejar auriu
924



Date tehnice Rulouri exterioare MCA

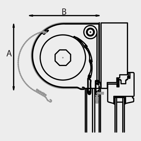
Rulou pentru fereastră aplicat - OUTBOX la 45°

Lamelă Dimensiune casetă Dimensiune ghidaj Lăţime
maximă
Înălţime maximă Suprafaţa maximă
37mm A B C D 2600mm Panglică Manivelă/Arc/Electric Panglică/Snur Manivelă/Arc/Electric
138mm 138mm 22mm 53mm - simplu
85mm - “H”
1670mm 1500mm 2.5mp 5mp
150mm 150mm 2150mm 2010mm
165mm 165mm 2800mm 2500mm
180mm 180mm 3180mm 2880mm
205mm 205mm 3900mm 3500mm


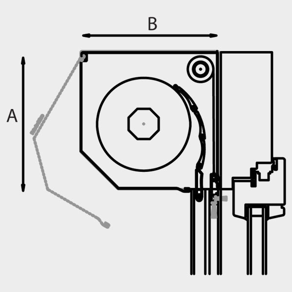
Rulou pentru fereastră aplicat - OUTBOX la 45° cu plasă de insecte integrată

Lamelă Dimensiune casetă Dimensiune ghidaj Lăţime
maximă
Înălţime maximă Suprafaţa maximă
37mm A B C D 2600mm Panglică Manivelă/Arc/Electric Panglică/Snur Manivelă/Arc/Electric
138mm 138mm 39mm 53mm 1100mm 801mm 2.5mp 5mp
150mm 150mm 1530mm 1330mm
165mm 165mm 2170mm 1730mm
180mm 180mm 2500mm 2500mm
205mm 205mm 2500mm 2500mm


Rulou pentru fereastră aplicat - OUTBOX cu casetă semirotundă

Lamelă Dimensiune casetă Dimensiune ghidaj Lăţime
maximă
Înălţime maximă Suprafaţa maximă
37mm A B C D 2600mm Panglică Manivelă/Arc/Electric Panglică/Snur Manivelă/Arc/Electric
138mm 138mm 22mm 53 mm -simplu
85 mm - “H”
1670mm 1500mm 2.5mp 5mp
165mm 165mm 2700mm 2450mm
180mm 180mm 3270mm 3050mm


Rulou pentru fereastră aplicat - OUTBOX cu casetă semirotundă și plasă de insecte integrată

Lamelă Dimensiune casetă Dimensiune ghidaj Lăţime
maximă
Înălţime maximă Suprafaţa maximă
37mm A B C D 2600mm Panglică Manivelă/Arc/Electric Panglică/Snur Manivelă/Arc/Electric
138mm 138mm 39mm 53mm 1100mm 800mm 2.5mp 5mp
165mm 138mm 2430mm 2060mm
180mm 180mm 250mm 2060mm


Rulou pentru fereastră aplicat - OUTBOX la 45°

Lamelă Dimensiune casetă Fără plasă de insecte
electric (buton sau telecomandă)
55mm A B Înălţime maximă Suprafaţa maximă
205mm 205mm 1920mm 7mp
250mm 250mm 3380mm 8mp
300mm 300mm 4300mm 8mp
.
© 2026 MILCA SRL. | Termeni si conditii |  A.N.P.C. - www.anpc.ro
| CUI: | NR Reg. Com.:
Cont IBAN: | Banca: